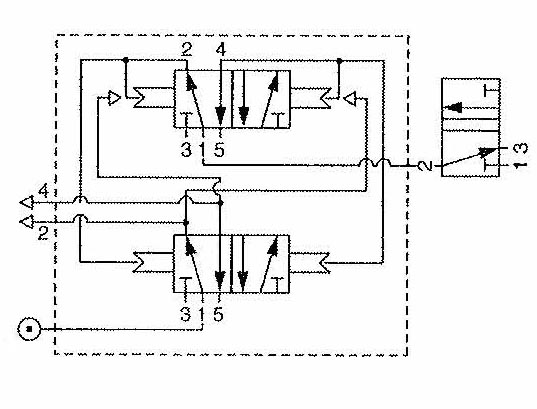
The Monostable Flip-Flop valve provides a 4 way switched output from an electrical pulse signal of at least 300 ms in length. When the solenoid is energized, the valve output position changes. The valve maintains position until the next electrical pulse signal is applied. Minimum operating pressure 35 PSI.
Operating pressure range 35 to 145 PSI. Actuation force (pilot pressure): 35 PSI minimum.
Pilot port size is 1/8. Mounting via 4 through body holes 3/16" Dia.
Oscillator valve will not operate if applied on vented applications such as an air gun. Working ports must have a connected defined volume.
For valve specifications see appendix. For detail dimensions contact factory.

- Ellis/Kuhnke Controls
132 Lewis Street Unit A-2, Eatontown, N.J. 07724
Phone: 1-800-221-0714
Fax: 732-291-8154
Email: Info@ekci.com
- Home Pneumatic Controls Technical Info CAD Drawings Contact Us Pneumatic Timers Blog Site Map
If you are looking for Pneumatic Controls, Pneumatic Valves then look no further than Ellis/Kuhnke Controls.

